一: 安裝
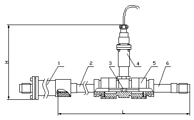
傳感器的安裝方式根據規格不同,采用螺紋或法蘭連接,安裝方式見圖一、圖二、圖三,安裝尺寸見表二。

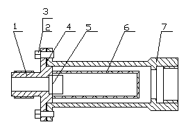
1.過濾器 2.前直管段 3.葉輪 4.前置放大器 5.殼體 6.后直管段
整表結構圖

1. 壓緊圈 2.螺栓4×14 3.墊圈 4.密封墊圈 5.鋼絲1Cr18Ni9Ti-0.8×2.5 6.過濾網 7.座
過濾器結構圖
圖一 LWGY—4~10傳感器結構及安裝尺寸示意圖

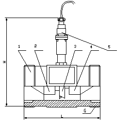
1.殼體 2.前導向件 3.葉輪 4.后導向件 5.前置放大器
圖二 LWGY—15~40傳感器結構及安裝尺寸示意圖

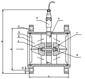
1.球軸承 2.前導向件 3.漲圈 4.殼體 5.前置放大器 6.葉輪 7.軸承 8.軸
圖三 LWGY—50~200傳感器結構及安裝尺寸示意圖

圖四 傳感器與顯示儀表接線示意圖
| 公稱通徑 (mm) | L(mm) | H(mm) | G | Lˊ(mm) | D(mm) | d(mm) | 孔數 |
LWGY-4 | 4 | 275 | 145 | G1/2 | 215 |
|
|
|
LWGY-6 | 6 | 275 | 145 | G1/2 | 215 |
|
|
|
LWGY-10 | 10 | 455 | 165 | G1/2 | 350 |
|
|
|
LWGY-15 | 15 | 75 | 173 | G1 |
|
|
|
|
LWGY-20 | 20 | 85 | 173 | G1 |
|
|
|
|
LWGY-25 | 25 | 100 | 173 | G5/4 |
|
|
|
|
LWGY-32 | 32 | 140 | 175 | G11/2 |
|
|
|
|
LWGY-40 | 40 | 140 | 178 | G2 |
| Ф110 | Ф18 | 4 |
LWGY-50 | 50 | 150 | 252 |
|
| Ф125 | Ф18 | 4 |
LWGY-65 | 65 | 180 | 278 |
|
| Ф145 | Ф18 | 4 |
LWGY-80 | 80 | 200 | 287 |
|
| Ф160 | Ф18 | 8 |
LWGY-100 | 100 | 220 | 322 |
|
| Ф180 | Ф18 | 8 |
LWGY-125 | 125 | 250 | 347 |
|
| Ф210 | Ф18 | 8 |
LWGY-150 | 150 | 300 | 367 |
|
| Ф250 | Ф22 | 8 |
LWGY-200 | 200 | 360 | 415 |
|
| Ф295 | Ф22 | 12 |
傳感器可水平、垂直安裝,垂直安裝時流體方向必須向上。液體應充滿管道,不得有氣泡。安裝時,液體流動方向應與傳感器外殼上指示流向的箭頭方向一致。傳感器上游端至少應有20倍公稱通徑長度的直管段,下游端應不少于5倍公稱通徑的直管段,其內壁應光滑清潔,無凹痕、積垢和起皮等缺陷。傳感器的管道軸心應與相鄰管道軸心對準,連接密封用的墊圈不得深入管道內腔。
傳感器應遠離外界電場、磁場,必要時應采取有效的屏蔽措施,以避免外來干擾。
為了檢修時不致影響液體的正常輸送,建議在傳感器的安裝處,安裝旁通管道。
傳感器露天安裝時,請做好放大器及插頭的防水處理。傳感器與顯示儀表的接線如圖四所示。
當流體中含有雜質時,應加裝過濾器,過濾器網目根據流量雜質情況而定,一般為20~60目。當流體中混有游離氣體時,應加裝消氣器。整個管道系統都應良好密封。
用戶應充分了解被測介質的腐蝕情況,嚴防傳感器受腐蝕。
二:使用和調整
◆ 使用時,應保持被測液體清潔,不含纖維和顆粒等雜質。
◆ 傳感器在開始使用時,應先將傳感器內緩慢的充滿液體,然后再開啟出口閥門,
嚴禁傳感器處于無液體狀態時受到高速流體的沖擊。
◆ 傳感器的維護周期一般為半年。檢修清洗時,請注意勿損傷測量腔內的零件,特
別是葉輪。裝配時請看好導向件及葉輪的位置關系。
◆ 傳感器不用時,應清洗內部液體,且在傳感器兩端加上防護套,防止塵垢進入,
然后置于干燥處保存。
◆ 配用時的過濾器應定期清洗,不用時,應清洗內部的液體,同傳感器一樣,加防塵套,置于干燥處保存。
◆ 傳感器的傳輸電纜可架空或埋地敷設(埋地時應套上鐵管。)
◆ 在傳感器安裝前,先與顯示儀表或示波器接好連線,通電源,用口吹或手撥葉輪,使其快速旋轉觀察有無顯示,當有顯示時再安裝傳感器。若無顯示,應檢查有關各部分,排除故障。
選購流量計就選淄博沃森測控科技有限公司,我們將竭誠為您服務!