⑤應用變液位法測量氣液兩相流量。前面所述的四種方法用來測量氣液兩相流流量都不夠完善,因為他們能夠實現的測量同第二節所提出的測量要求還有很大差距。當然,有的測量對象如果只需知道氣液混合物體積流量或質量流量,這些方法就可能投入實際應用。但若需進一步知道各相質量流量或氣相質量流量含量,那就需另想辦法。其中將氣液兩相先進行分離,然后用測量單相流量的方法分別測量氣液兩相的質量流量。

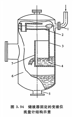
圖3.94所示為儲液器固定的變液位流量計結構示意。常用來測量含氣石油中的石油流量。由圖可見,石油和氣體的混合物由管1切向進入分離室2,使氣液分離。氣體經分離室后流入儲液器4,再經槽縫7流入容器下部6后,和氣體一起經管5流出。儲液器中裝有穩定液位用的隔板3,儲液器4中的液位可采用差壓計測出儲液器中液柱靜壓的方法來確定。根據讀出的差壓可確定液位高度h,再根據各相應計算式(一種形狀的槽縫對應一種計算式)算出液體體積流量qv。
其實,將僅適用單相流的流量計與氣液分離器配合用來測量氣液兩相流中的部分參數應用最多的是飽和蒸汽流量測量。飽和水蒸氣經長距離輸送,因熱量損失而部分蒸汽變成冷凝水,管道中流體變成氣液兩相流,影響某些原理的流量計正常工作。常用的做法是在流量計前裝設氣液分離器,然后將液體經疏水器排放掉。經氣液分離后的蒸汽可近似看作為單相流,從而用一般流量計進行測量。
⑥基于螺旋管分離器的多相流計量裝置。該裝置是為計量油氣水多相流體而設計的。其主體是螺旋管復合氣液分離器,如圖3.95所示。中部為螺旋分離腔,上部為集氣腔,下部為集液腔。

氣液混合物進入螺旋管流道內產生強烈旋流運動。通過離心力使氣體和液體進行分離。為了適應含氣率和總體流量較小的工況,采用重力分離部分進行氣液分離,從而縮小分離器體積,增強其適應能力,提高氣液分離效果。
集氣腔是空腔,近氣體出口處設捕霧網。集液腔也是空腔,近液體出口處設防旋渦擋板。螺旋分離腔由腔體和內置多圈螺旋管組成,在螺旋管道內上側開孔,分離出的氣體從開孔處排出進入集氣腔。在螺旋管道外下側開孔,分離出的液體從開孔處排出,沿腔體壁進入集液腔。當流體含氣量很少或總體流量較小時,流體在螺旋管內流速較低,離心加速度較小,主要依靠分離器集氣腔和集液腔進行分離。
在圖3.95中,上部的氣體出口管上裝有氣體質量流量計1(1.0級),下部的液體出口管口裝有渦輪流量計2,經計量的氣體和液體從裝置出口流出。為了將集液腔內的液位控制在理想高度,配置了液位調節系統,調節手段是氣體排出量。
測試表明,該裝置對油氣水三相流不同氣液比、不同負荷,具有較強的適應能力。其中液體流量在 20~130m3/d范圍內變化,含水量在20%~85%范圍內變化,氣體流量在100~500m3/d范圍內變化,液流量計量最大相對誤差1.5%,氣流量計量最大相對誤差 -2.1%。
四、混合不均勻的雙組分液體及其流量測量
(1)混合不均勻的雙組分液體的流動結構混合不均勻的雙組分液體的流動結構和氣液兩相流相近,但是,由于此時兩相的黏性、密度以及兩相分界面上的張力和氣液兩相流不同,因而在流動結構上也存在一定的差別。
圖 3.96 所示為由密度為851kg/m3的油和水在垂直上升管中混合流動時的各種流動結構。隨著油流量的增大,油水兩相流逐漸由圖示的細泡狀流動結構、彈狀流動結構、塊狀流動結構轉變為霧狀流動結構。在圖中呈細泡及彈狀結構的工質為油,在霧狀流動結構中,霧滴的工質為水。

圖 3.97 所示是油水混合液在水平管中的各種流動結構示意。當水流量較大而油流量較小時,油和水的流動結構為細泡位于管子上部的細泡狀流動結構。當水流量和油流量均小時,油和水的流動結構為油在上面水在下面的分層流動結構。當水流量及油流量增大時,油水分界面發生波動,形成波狀流動結構。當水流量再增大時,形成彈狀流動結構。當水及油的流量均較大時,油和水形成混合狀流動結構。
圖3.97所示的流動結構是油水密度相差較多時的流動結構,當兩種液體的密度相近時,混合物流動結構中的油和水分布情況要比圖3.97所示的均勻。
(2)混合不均勻的雙組分液體的流量測量方法 從上面的流動結構分析可以看出,混合不均勻的雙組分液體分層流動時,對流量測量影響較大,由于上層液體和下層液體之間黏度和密度存在差異,因此,流速也存在差異。于是對以流速測量為基礎的流量計的測量帶來誤差。
從圖3.96可看出,垂直上升管道中的此類混合物流動不存在分層流動的情況,而且在流速較高時,流體呈霧狀結構,可將其近似看作均相流體,從而可用通用單相流量計進行測量。
五、液固兩相流及其流量測量
(1)液固兩相流的流動結構液固兩相流的流動結構非常復雜,不僅受到液固兩相密度、固相含量、流速變化以及管道形狀和布置方式的影響,而且還受到固體顆粒尺寸的影響。它和氣固兩相流很相似,在表明垂直上升氣固兩相流流動結構的圖3.98中,如將氣體換成液體,即可變為液體流化床和液力輸送固體顆粒的流動結構示意圖。當然,在液固兩相流中出現這些流動結構的具體工作參數上是和氣固兩相流不同的。

水平管道中的液固兩相流的流動結構如圖3.99 所示。當流速低于臨界流速時,固相會發生沉淀,當超過臨界流速時,混合物可成為浮游流動。
(2) 液固兩相流的流量測量方法
①差壓式流量計。差壓式流量計用于測量各種漿狀流體的流量,例如水煤漿、泥漿等已有幾十年的歷史。為了保證節流裝置不沉積固相顆粒,一般都采用文丘里管。另外還需注意文丘里管喉部的磨蝕問題以及導壓管被漿狀物質堵塞問題。
圖3.100 所示為一個用于鋁土礦漿流量測量的文丘里管,圖中所示的文丘里管作水平布置,在喉部裝有用耐磨材料制成的可更換的圓套筒4。試驗證明,當喉部不裝設圓套筒,則由一般碳鋼制成的喉部每月磨蝕1mm,裝上防磨蝕圓套筒后,可使文丘里管的運行期延長好幾倍。

另外,3.2.2節中所述的楔形流量計也適用于測量液固兩相流量,國內有一些應用經驗。采用帶法蘭膜片隔離的差壓變送器和帶吹洗液的取壓管,能使取壓管有效防堵。
楔形流量計實際使用中的困難是楔形節流件頂部的快速磨蝕,而且一經磨蝕就無法用文丘里管中更換套筒的方法恢復其準確度,只能整體更新,因此運行成本高。
對于應用差壓法測量液固兩相流量的研究工作進行得還不夠,由于兩相流中輕相的流速要比重相流速快,此兩相之間的滑動現象引入一定的誤差,所以這樣的應用比測量單相流量時誤差大,不確定度一般可達±5%。
②科氏力質量流量計。科氏力質量流量計測量含有少量固體顆粒的液體流量,具有較高的信賴度,測量渣油、重油可長時間可靠運行,有的甚至用來測量熔融狀態的瀝青石墨糊流量。但當固體含量增加和固體粒度較大時,就要考慮防堵問題,尤其是儀表口徑較小時。最好選用單根直管型,并將其安裝在垂直管道上。
液固兩相流中的固體顆粒形狀多種多樣,硬度差異也很大,因此對流量計同流體接觸的部分產生磨蝕作用,磨蝕速度不僅與固體顆粒外形及硬度有關,還與流速有關,流速越高,磨蝕速度越快。將流量傳感器安裝在垂直管道上,可以防止管壁因磨損不均而縮短使用壽命。然而管壁厚度變薄會降低測量管剛度而導致誤差增大。當然,最嚴重的情況是測量管被磨穿,因此,遇到這種情況時應加強監測。
③超聲流量計。3.3.2節中的多普勒超聲流量計同樣適用于液固兩相流量測量。如果采用夾裝式流量傳感器,則管道磨蝕問題和防堵問題全由工藝管道承擔。若將傳感器安裝在水平管道上,由于重相靠管底流動可能會引入較大的測量誤差,因此,應盡量安裝在垂直管道上。
④ 電磁流量計。測量礦漿、煤漿、泥漿、紙漿等一類電導率較高的液體,電磁流量計具有獨特的優越性。首先,測量準確度高,可比差壓式流量計高若干倍;其次,完全用不著考慮堵塞問題,因為選用與工藝管道等直徑的流量傳感器,不增加阻力;至于耐磨蝕問題,也強調將測量管安裝在垂直管道上,不僅磨蝕一致,而且不易在流速低時發生重相沉積現象。
為了對測量管內襯的磨損進行監視,提出了內襯磨穿報警方法,在圖3.101所示的測量管中,件號5、6為報警電極,當內襯被磨穿后,兩電極之間經流體導通,從而發出警報。從現場運行實踐看,靠近測量管近法蘭處內襯磨損最為嚴重,所以圖3.101所示的測量管增設了耐磨性較強的保護環7。
